電位器在電力和電子學的最早期就已經是一個重要的無源電路組件。電位器是一種三端子設備,帶有一個可訪問的電阻元件,可通過旋轉軸上用戶可設置的滑動臂實現分壓功能。電位器已用于無數的模擬和混合信號電路,能滿足各種各樣的應用要求。全電子數字電位器仿真了機電式電位器的功能,但這是通過一個沒有活動部件的集成電路來實現的。數字電位器可接受多種格式的數字代碼,并確立一個相應的電阻值。因此,這種器件有時被稱為電阻式數模轉換器(RDAC)。在傳統電位器中,可以用手(有時甚至是小型電機)來設定滑臂位置,以此設置分壓比。然而,在數字電位器中,計算機控制器通過數字接口與數字電位器IC連接,并建立一個與滑臂位置等效的數值。
數字電位器可代替機械式電位器,具有使用靈活、調節精度高、無觸點、低噪聲等顯著優點。由于某型檢測系統是用于某有線通信線路的在線檢測,這類線路通過二線差分方式可傳輸多類通信信號,其標稱電平峰值范圍為0.8~9V,頻率范圍為50~2.5MHz,匹配阻抗為120Ω、600Ω,其在檢測過程中無法預先知道傳輸信號類型;因而本文運用數字電位器可編程控制阻值功能,設計了增益可自適應調整的數據采集系統,可以較好地解決了這一問題。
1.系統整體設計
數據采集系統,通常由信號調理電路﹑模數轉換器(ADC)電路和信號傳輸電路3部分組成。信號調理電路主要完成阻抗匹配﹑信號幅度調節和濾波;ADC主要完成模擬信號到數字信號的轉換;信號傳輸電路主要用于將ADC輸出的數字信號傳送到上位機,并從上位機獲取控制信號完成采集系統的功能控制。
依據前文所述,為完成對信號的采集,采集系統的設計指標應略有富余:輸入阻抗大于6MΩ,輸入信號幅值范圍大于0.5~10V,電路頻率范圍大于30~3MHz。
在數據采集系統中,ADC芯片是核心,整個電路設計應當圍繞ADC芯片展開,所以首先要完成ADC芯片的選型工作。根據采樣定理,為得到完整的信號信息,采樣頻率只需大于信號最大頻率的2倍即可,而在工程實踐中,通常選擇采樣頻率為信號最大頻率的5~10倍,這就要求系統中數模轉換電路的采樣頻率應大于20MHz。按照功能性和經濟性的原則,ADC芯片選擇ADS822,其主要參數為:分辨率為10位;采樣速率為40MSPS;動態輸人范圍為2V;信噪比(SNR)為60dB;無動態失真范圍(SFDR)為72dBFS;微分非線性誤差(DNL)為0.5LSB;可選擇單端或差分輸入;+5V單電源供電。
2.硬件電路設計
圖1是數據采集系統結構框圖,信號調理電路由儀表放大器、增益調節放大器、ADC輸入緩沖放大器組成。儀表放大器的主要功能是提供高輸入阻抗(通常可以達到109~1012Ω),用于提高電路共模抑制比和完成差分輸入到單端輸出的轉換。增益調節放大器用于完成信號增益控制,以匹配ADC的輸人范圍。ADC輸入緩沖器配合ADC使用,用于隔絕前后級電路的干擾,同時完成ADC單端信號的輸入調整。模數轉換器(ADC)電路以ADC芯片為核心組成,用于完成模擬信號到數字信號的轉換。信息傳輸電路以FPGA芯片為核心組成,用于為ADC提供采樣時鐘,讀取ADC輸出數字信號,進行初步信號處理,將數據傳送到上位機,并通過SPI控制線對增益調節放大器進行控制。

圖1 數據采集系統結構框圖
2.1儀表放大器電路
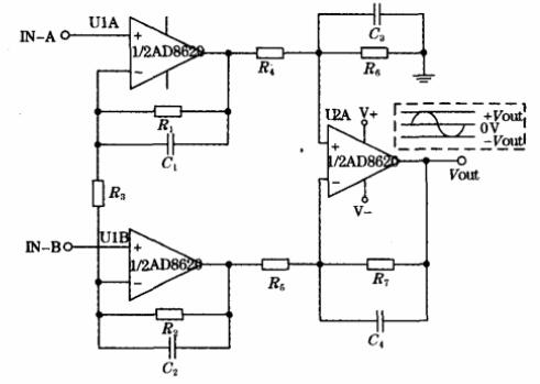
儀表放大器是一種具有差分輸入和相對參考端單端輸出的閉環增益單元。通常由3個運放組成,圖2是儀表放大器原理圖,U1A、U1B組成差分放大電路,為同相差分輸入方式,用于提高電路的輸入阻抗,減少電路對小信號的衰減,同時該電路只對差分信號進行放大,而共模信號只起跟隨作用,其對差分信號的增益G=1+(R1+R2)/R3。U2A為減法器電路,用于完成差分信號到單端信號的轉換,當R4=R5,R6=R7時,其增益G=R6/R4。圖2所示儀表放大器的總增益為2。R1與C1,R2與C2,R6與C3,R7與C4,分別組成一階低通濾波器,能夠抑制放大器噪聲,同時可防止電路產生高頻自激。

圖2 三運放組成儀表放大器
運放芯片選擇雙通道集成芯片AD8620,該芯片為高精度的JFET輸人放大器,其供電電源為±5V或±13V,使用±13V供電時其性能參數為:最大輸入失調電壓:150μV;最大輸入偏置電流:±10pA;最大輸入失調電流:±10pA;輸入電壓范圍:-10.5~+10.5V;最小共模抑制比(CMRR):90dB;輸出電壓范圍典型值:-11.84~+11.84V;輸出短路電流:±65mA。
2.2增益調節放大器電路
增益調節放大器電路主要對輸入信號幅值進行衰減或放大,根據系統技術指標和ADC芯片的技術參數,信號調理電路的增益范圍應當大于0.2~4,由于儀表放大器的增益為2,所以該電路的增益調節范圍應當大于0.1~2。目前很多公司已經生產了可編程增益放大器(PGA)來完成增益調節的功能,已有的產品雖然使用方便,但是PGA大部分用于小信號放大電路中,其增益大于1。因而該電路選擇集成運放芯片和數字電位器來完成信號增益調節功能。
數據采集系統增益放大器用于輸入ADC信號的增益控制。如圖3所示,增益調節放大器電路由AD8620芯片的另一個運放和一個數字電位器芯片AD5141組成。AD5141芯片為單通道,10kΩ,100kΩ可選數字電位器,控制方式SPI、可選,256個游標位置,其主要性能參數為:最大電阻容差:8%,10kΩ帶寬:3MHz,A、B、W端允許通過電流值范圍:-6~+6mA。

圖3 增益放大器電路
數字電位器W端和B端的阻值為RBW,其調節范圍為40~10kΩ,步進值39.23Ω,運放芯片應用為反相放大器,其增益G=-RBW/R8,R8=5kΩ時,該電路增益調節范圍0.008~2。R9為匹配電阻,通常選擇R9=RBW/R8,在這里由于R,BW是可變,因此選擇R0=2kΩ。
儀表放大器輸出的信號經過增益調節放大器后,調整為2Vp-p信號,傳送到ADC輸入緩沖器中。圖4為ADC輸入緩沖器和ADC工作電路。ADS822工作在單端輸入狀態時,其輸入信號范圍為0~2V,因而從增益調節放大器過來的信號不能直接送到ADC的輸入端,需要增加一個輸入緩沖器,將信號范圍調節成0~2V,圖4中的U4組成電路即為ADC輸入緩沖器,該電路是依據ADS822的使用手冊提供參考電路設計。

圖4 輸入緩沖器與ADC電路
3.系統軟件設計形成
數據采集系統的軟件主要是完成系統控制﹑數字信號處理和信號傳輸等功能,通過FPGA芯片XC3S400來完成。FPGA芯片為ADC電路提供時鐘,讀取ADC輸出數據,并對通過對數據大小的分析,判斷ADC的輸入信號幅值范圍,如果信號幅值過大或者過小,就通過輸出控制信號調節數字電位RBW器大小來改變增益調節放大器的增益,使輸入ADC的信號幅值保持在ADC工作的最佳范圍之內。FPGA同時可對接收到的數字信號進行處理,將處理后的數據通過USB2.0接口傳輸到上位機。

圖5 軟件設計結構
系統軟件基于ISE環境開發,采用模塊化設計,其設計結構如圖5所示,依據功能不同整個軟件可以分為以下7個模塊:
(1)主控協調模塊,用于接收控制端輸入的工作模式和控制信息,完成整個系統功能的控制,并為數據在FPGA內部傳輸提供通道,同時向各個模塊提供時鐘和復位信號。
(2)數據采集模塊,用于控制ADC芯片工作,為ADC芯片提供采樣時鐘,讀取ADC芯片輸出的數字信號,采用FIFO方式對數據進行緩沖,并將數據傳送到主控協調模塊和數據判斷模塊。
(3)數據判斷模塊,主控單元通過JOE控制該模塊是否工作,該模塊工作時用于分析、判斷ADC的輸入信號幅值范圍,并將判斷結果轉換為增益控制信號傳送到電位器控制模塊。
(4)電位器控制模塊,接收主控協調單元的輸出的工作狀態控制信號,可工作于3種固定增益方式或增益自適應方式。3種固定增益方式應用于能夠確定信號類型得場合。工作在增益自適應方式時,通過接收數據判斷模塊輸出的控制信號,轉換成相應的數字電位器控制信號輸出,調節數字電位器RBW變化。
(5)信號處理模塊,用于補償因為采集系統增益造成的數據變化,將ADC采集到的數據還原成輸入系統的數據,并可依據應用需要,進行部分運算量大、運算實時性要求高的數字信號處理,并將最終處理結果傳送到數據傳輸模塊和波形顯示模塊。
(6)數據傳輸模塊,用于采集系統與上位機的通信,完成上位機控制信號的接收和采集系統數據的發送。該模塊分為兩部分,一部分是RS232接口,用于低速控制信號的接收,一部分是USB2.0接口,用于高速數據的傳輸。
(7)波形顯示模塊,用于將信號處理模塊傳輸來的數據轉換為可以用顯示器顯示的波形信號,并輸出到顯示器顯示,可用于數據采集系統的采集狀態監測,在主控協調單元的使能信號下工作。
4.關于數字電位器的常見問題
4.1數字電位器的用途是什么?
數字電位器(也稱為電阻式數模轉換器,或非正式的數字電位器)是一種模擬電位器模擬功能的數字控制電子元件。它通常用于微控制器微調和縮放模擬信號。
4.2數字電位器是如何工作的?
數字電位器(也稱為數字電阻器)具有與普通電位器相同的功能,但與普通電位器相比,數字電位器使用數字信號和開關代替機械動作。任何時候都只關閉一個開關,閉合的開關決定了“雨刷”的位置和電阻比。
4.3數字電位器的電阻容差是多少?
數字電位器往往具有大的的端到端公差。Maxim數字電位器通常具有20%至30%的電阻容差。當數字電位器用作與其他電阻器串聯的分壓器時,電阻容差可能會出現問題。
4.4如何將數字電位器連接到Arduino?
將數字電位器的時鐘引腳(SCL)的引腳4連接到Arduino上的模擬引腳5,將數據線(SDA)的引腳5連接到模擬引腳4。在SCL和SDA線上,添加4.7K歐姆拉上電阻,將兩條線連接到+5V。最后,將LED連接到引腳1,即AD5171的“雨刷器”,串聯一個680歐姆LED。

圖6 數字電位器連接到Arduino
結語
以上就是基于數字電位器的增益自適應數據采集系統設計介紹了。數字電位器是一種數字設置的IC,在許多系統結構和電路設計中取代了經典的機電式電位器。數字電位器不僅減少了產品尺寸和因意外移動而出錯的可能性,而且還增加了與處理器的兼容性,從而增加了軟件的兼容性,還具有更高的精度和分辨率(如果需要)以及其它的有用功能。本文通過分析論證,給出了完整的硬件設計電路和軟件設計結構,經過仿真,系統符合設計要求,可為類似的數據采集系統設計提供參考借鑒。
電話:18923864027(同微信)
QQ:709211280
〈烜芯微/XXW〉專業制造二極管,三極管,MOS管,橋堆等,20年,工廠直銷省20%,上萬家電路電器生產企業選用,專業的工程師幫您穩定好每一批產品,如果您有遇到什么需要幫助解決的,可以直接聯系下方的聯系號碼或加QQ/微信,由我們的銷售經理給您精準的報價以及產品介紹

