c945參數與管腳圖
C945是常用的小功率NPN型晶體管,封裝形式為TO-92,可以驅動的最大負載約為150mA,可以用于如放大、開關、穩壓等電路中。
c945電氣參數:
集電極-發射極電壓VCEO:50V
集電極-基極電壓VCBO:60V
發射極-基極電壓VEBO:5V
集電極電流Ic:100mA
基極電流IB:20mA
集電極發射極飽和電壓VCE(sat):0.15V
耗散功率TA =25℃ PD:250mW
操作和存儲結溫范圍 TJ,Tstg:-55 - 150℃


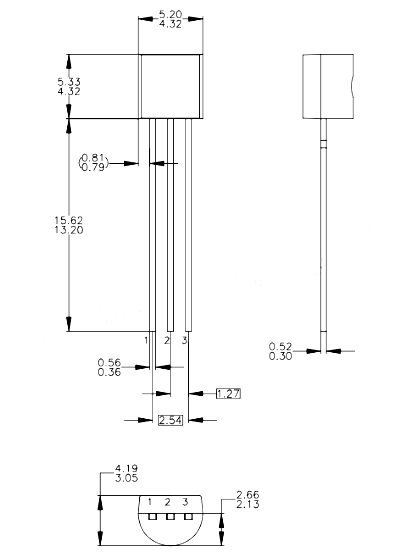
c945引腳圖尺寸


C945的引腳分別為基極(B)、集電極(C)和發射極(E),其中集電極為正極,發射極為負極。
當基極電流為零時,C945處于截止狀態,此時集電極和發射極之間的電阻很大,近似于開路。
當基極加上正向電流時,C945進入放大狀態,此時集電極和發射極之間的電阻大大降低,可以輸出較大的電流,實現信號放大。
當基極加上反向電流時,C945進入飽和狀態,此時集電極和發射極之間的電阻很小,近似于短路,可以用于開關電路。
〈烜芯微/XXW〉專業制造二極管,三極管,MOS管,橋堆等,20年,工廠直銷省20%,上萬家電路電器生產企業選用,專業的工程師幫您穩定好每一批產品,如果您有遇到什么需要幫助解決的,可以直接聯系下方的聯系號碼或加QQ/微信,由我們的銷售經理給您精準的報價以及產品介紹
聯系號碼:18923864027(同微信)
QQ:709211280

