
傳真:
18923864027
QQ:
709211280
地址:
深圳市福田區振中路84號愛華科研樓7層
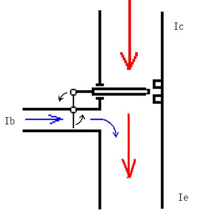
三極管的電平轉換與驅動電路分析如上圖,左端接3 3VCMOS電平,可以是STM32、FPGA等的IO口,右端輸出為5V電平,實現3 3V到5V電平的轉換?,F
三極管放大電路原理圖解一、放大電路的組成與各元件的作用Rb和Rc:提供適合偏置——發射結正偏,集電結反偏。C1、C2是隔直(耦合)電容,隔...
在做開關電路時-三極管限流電阻要怎么選擇三極管做開關電路是很常見的一種電路,基本上所有電子設備都有對其電路的應用,那么在做開關電路
三極管原理簡單理解詳情本文主要介紹三極管原理最通俗的表達理解,希望對您的學習有所幫助。對三極管放大作用的理解,切記一點:能量不會無
三極管的三個工作狀態圖解大家都知道三極管是電流控制型元件,三極管工作在放大狀態下存在Ic=βIb的關系,怎么理解三極管的放大模型呢?
三極管的的概念與其工作原理三極管在我們數字電路和模擬電路中都有大量的應用,在我們開發板上也用了多個三極管。在我們板子上的 LED 小
五種三極管測量方法知識分享在生活中具備諸多應用,很多朋友對三極管測量存在一定困惑,無法在三極管測量方面取得相關進展。本文將從五個方
全面分析電容知識-電容的作用-電容單位-電容公式與檢測電容的簡介電容器所帶電量Q與電容器兩極間的電壓U的比值,叫電容器的電容。在電路學
MOS管場效應管的作用有哪些-及其它的應用領域場效應管分類場效應管分結型、絕緣柵型兩大類。結型場效應管(JFET)因有兩個PN結而得名,絕緣
解析開關電源中光耦作用與光耦傳輸比(CTR)對開關電源的影響光耦光耦合器亦稱光電隔離器或光電耦合器,簡稱光耦。它是以光為媒介來傳輸電信
電容公式與公式如何計算-電容單位和轉換詳解電容單位及轉換在了解電容公式前,我們要先來看看電容單位及轉換。在國際單位制里,電容的單位
貼片電阻的分類-貼片電阻如何看大小及識別方法什么是貼片電阻貼片電阻(SMD Resistor)又名片式固定電阻器(Chip Fixed Resistor) ,是金